|
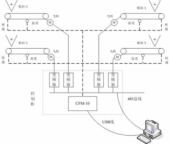
連續配料自動控製係統 一,概述: 連續配料係統在水泥、煤炭、冶金、化工、飼料、食品等行業有很廣泛的應用。澳德公司利用公司在數據采集、控製技術和組態軟件上的優勢開發的CFS-10是專門為連續配料係統設計的OEM自動化係統。具有功能全麵,靈活性強,性價比高等特點,受到連續配料係統集成商和用戶的歡迎。 CFS-10shigegaoxingjiabidexitong。peiliaoxitongyibanyouduotaipidaijizucheng,chuantongdefangfashiyitaipidaijipeizhiyitaokongzhiqi,ranhoubakongzhiqiliandaojisuanjishang。eryigeCFS-10係統可以同時控製多台皮帶機,從而大大降低了係統的造價。 CFS-10是個高可靠性的係統。它具有計算機和控製器相互監視的機製和多種報警機製,控製器的核心采用了美國高可靠性的LabJack U12。即使在計算機死機情況下,係統不但會發出報警信號,而且還可以按照原先的狀態繼續運行。 CFS-10係統靈活性強。它可以和各種品牌、規格的變頻器、傳感器接口,使係統對設備的選擇有很大的靈活性。計算機上的監控軟件使用美國的DAQFactory組態軟件。該軟件在Windows下的線程管理十分可靠,軟件具有動畫功能和PID控製功能。組態軟件的靈活性使得該係統的個性化更為簡單、便捷,可以方便地根據用戶的不同需要定製界麵和操作流程。 CFS-10是一個功能全麵的係統。它支持多媒體報警機製,當故障發生時,如皮帶打滑、缺料、電(dian)機(ji)故(gu)障(zhang)等(deng),係(xi)統(tong)可(ke)以(yi)通(tong)過(guo)喇(la)叭(ba)發(fa)出(chu)各(ge)種(zhong)警(jing)報(bao)聲(sheng),或(huo)進(jin)行(xing)語(yu)音(yin)報(bao)警(jing)。在(zai)一(yi)般(ban)情(qing)況(kuang)下(xia)用(yong)戶(hu)隻(zhi)要(yao)通(tong)過(guo)點(dian)擊(ji)鼠(shu)標(biao)即(ji)可(ke)對(dui)係(xi)統(tong)進(jin)行(xing)各(ge)種(zhong)操(cao)作(zuo)。配(pei)料(liao)比(bi)例(li)可(ke)以(yi)隨(sui)時(shi)進(jin)行(xing)改(gai)變(bian),改(gai)變(bian)一(yi)個(ge)物(wu)料(liao)的(de)比(bi)例(li)時(shi),其(qi)它(ta)比(bi)例(li)會(hui)根(gen)據(ju)它(ta)們(men)原(yuan)來(lai)的(de)比(bi)例(li)自(zi)動(dong)做(zuo)出(chu)相(xiang)應(ying)的(de)調(tiao)整(zheng),保(bao)證(zheng)了(le)總(zong)配(pei)比(bi)為(wei)100%,從而保證了產品的質量和產量。 生sheng產chan數shu據ju記ji錄lu是shi該gai係xi統tong的de另ling一yi個ge特te點dian。所suo有you的de數shu據ju都dou可ke以yi進jin行xing保bao存cun,但dan為wei了le保bao證zheng數shu據ju的de效xiao率lv,默mo認ren數shu據ju保bao存cun方fang式shi是shi時shi間jian驅qu動dong型xing的de,即ji當dang配pei比bi被bei修xiu改gai時shi、發生警報時或其他預先定義的事件發生時。係統還提供統計數據的查詢,如產量報表。 數shu據ju查zha詢xun不bu但dan可ke以yi在zai本ben地di實shi現xian,也ye可ke以yi在zai任ren何he聯lian網wang的de計ji算suan機ji上shang進jin行xing。數shu據ju查zha詢xun為wei分fen類lei查zha詢xun,而er且qie不bu需xu要yao安an裝zhuang任ren何he其qi他ta軟ruan件jian,隻zhi要yao使shi用yong互hu聯lian網wang瀏liu覽lan器qi便bian可ke。大da大da方fang便bian了le使shi用yong,使shi生sheng產chan的de原yuan始shi數shu據ju得de到dao有you效xiao的de應ying用yong,實shi現xian產chan業ye信xin息xi化hua的de目mu的de。 二,係統結構: CFS-10由一台工控機、一yi套tao外wai置zhi的de數shu據ju采cai集ji控kong製zhi器qi和he變bian頻pin器qi組zu成cheng。數shu據ju采cai集ji控kong製zhi器qi采cai集ji皮pi帶dai秤cheng來lai的de荷he重zhong信xin號hao和he皮pi帶dai走zou速su信xin號hao,以yi及ji機ji器qi的de開kai關guan狀zhuang態tai和he故gu障zhang信xin號hao。計ji算suan機ji對dui采cai集ji的de信xin號hao進jin行xing分fen析xi,再zai根gen據ju用yong戶hu輸shu入ru的de配pei比bi和he生sheng產chan量liang的de要yao求qiu通tong過guo485接口向變頻器輸出指令來控製各皮帶機的走速。係統結構如圖所示。
 三,係統功能特點: l 高性價比,市場競爭力強 l 高可靠性,具有設備和計算機相互監視報警功能 l 一個係統控製多台皮帶機,係統擴展容易 l PC-Based 係統,操作顯示界麵生動、形象和個性化 l 支持聲光報警及語音報警 l 支持各種品牌和規格的變頻器,多種轉速、荷重傳感器 l 時刻保證物料總配比為100%,保證了質量和產量 l 具有各種曆史數據和統計數據查詢功能 l 支持數據網絡共享 l 周全的技術支持 四,係統軟件典型界麵: 係統的主界麵如下圖所示。它以逼真的動畫直觀地反映配料係統現場運行狀況,用戶可以直接在該界麵上進行控製。
 主zhu界jie麵mian顯xian示shi了le各ge物wu料liao設she定ding的de配pei比bi,各ge物wu料liao的de實shi時shi傳chuan輸shu速su率lv,各ge物wu料liao的de實shi時shi流liu量liang,各ge物wu料liao累lei計ji產chan量liang,物wu料liao實shi際ji總zong流liu量liang,物wu料liao實shi際ji總zong產chan量liang,皮pi帶dai機ji運yun行xing指zhi示shi燈deng,警jing報bao信xin息xi(在發生警報時才會顯示)等。整個係統有一個總控製開關,而各皮帶機又有其單獨的控製開關,這使係統操作具有靈活性。界麵下方是其它控製功能。 在設置配比界麵上點擊一個物料(紅色的文本)即可修改該配料的比例。其它物料的配比將根據原先設定的配比自動進行調節,使其它各物料配比保持不變,且總配比保持100%不變。 在係統參數設置界麵上可以設置缺料報警閾值。當荷重傳感器測量值小於缺料報警閾值時,可以選擇係統停止工作和聲光報警。 硬件參數設置界麵用來標定荷重傳感器和皮帶機。 數據查詢界麵用來查詢報警、事件記錄等曆史數據。查詢時先設定開始和結束時間,數據類別,然後點擊查詢按扭查詢數據。
 係統還有其他輔助界麵,各用戶可以要求個性化的界麵和功能。 (www.ade-tech.com)
|