|
孫宏偉(交通部水運科學研究所運達偉業科貿有限責任公司,100088)
摘要:本文以散糧筒倉為例,探討了ControlLogix在大型順序控製中的應用情況;並且根據該項目的實際情況,介紹了ControlLogix係統對羅克韋爾自動化早期產品的無縫隙改造的方法,從而體現了ControlLogix係統在實際應用中的靈活性以及ControlLogix係統的卓越特性。同時,本文介紹了大型順序控製係統 - 散糧筒倉的控製工藝流程。
關鍵詞:ControlLogix 順序控製 流程
一、前言
羅克韋爾自動化公司的自動化產品十幾年來在國內得到了廣泛的應用,特別是其順序控製產品從PLC-3到ControlLogix係統已經應用到全國各行業的實際生產中。
2002年,在秦皇島港散糧碼頭筒倉改擴建工程中采用了羅克韋爾自動化的ControlLogix係統針對原有的控製係統(PLC-3)進行了改造,並增加了新建的筒倉控製係統,使原有筒倉和新建筒倉的設備在ControlLogix控製平台下進行統一控製。該係統從硬件改造到工藝控製流程都體現了ControlLogix係統的優越性。
二、項目介紹
秦皇島港散糧碼頭筒倉係統於1991年由日本三菱公司建成,主要承擔散糧貨物的進出口及臨時倉儲任務,每年能達到120萬(wan)噸(dun)的(de)吞(tun)吐(tu)量(liang),建(jian)成(cheng)之(zhi)初(chu)在(zai)亞(ya)洲(zhou)堪(kan)稱(cheng)第(di)一(yi)大(da)散(san)糧(liang)碼(ma)頭(tou),隨(sui)著(zhe)國(guo)內(nei)經(jing)濟(ji)的(de)日(ri)益(yi)發(fa)展(zhan)該(gai)碼(ma)頭(tou)逐(zhu)漸(jian)不(bu)能(neng)滿(man)足(zu)現(xian)在(zai)的(de)需(xu)要(yao),所(suo)以(yi)秦(qin)皇(huang)島(dao)港(gang)務(wu)局(ju)決(jue)定(ding)在(zai)原(yuan)有(you)筒(tong)倉(cang)的(de)基(ji)礎(chu)上(shang)進(jin)行(xing)改(gai)擴(kuo)建(jian)。
原控製係統分為筒倉控製部分、出口線控製部分(由天津電氣傳動所於1995年增加的)、卸船機控製部分和稱重單元控製部分,其中筒倉控製部分采用的是羅克韋爾自動化公司的A-B PLC-3處理器和PLC-5係列I/O,該部分為此次項目改造的主要部分;卸船機部分和稱重單元控製部分采用的是A-B PLC-5/15處理器,這兩部分需要與原有的筒倉部分進行數據交換;出口線控製部分采用的是A-B PLC-5/25處理器,該部分原設計時沒有和其他三部分控製係統進行控製上的連接。(硬件結構示意圖見附圖一)
此次項目改建在原有的78個小筒倉(總容量6.5萬噸)的基礎上,增加了7個大筒倉(總容量7萬噸),全部新老係統I/O點數達到了12000點。新增加的筒倉的控製係統采用了ControlLogix係統I/O,並采用Logix5550處理器對所有I/O進行控製,替代原來的PLC-3處理器,通過DHRIO模板與原有的PLC-5係列的I/O進行通訊。
三、硬件係統
在該項目中,由於要保留原來老筒倉係統的I/O設備,同時采用最新ControlLogix的控製平台。
先進的ControlLogix控製平台具有下列特點:
1.無縫連接 - 易於與現有的PLC集成;現有網絡的用戶可以與其它網絡上的程序控製器透明的收發信息。 2.快速性 - ControlLogix平台通過背板提供了高速的數據傳輸,而ControlLogix係列處理器提供了高速的控製平台。 3.可升級 - 根據實際需要增加或減少處理器或通訊模板的個數,可在一個框架內使用多個處理器;選擇滿足應用需求的控製器內存容量。 4.工業化 - 提供了一個硬件平台,可耐受振動、高溫和各種工業環境下的電氣幹擾。 5.集成化 - 建立了一個集成多種技術的係統平台,包括順序控製、運動控製、傳動控製和過程應用。 6.結構緊湊 - 適用於高度分散控製並且配電盤空間有限的場合。
經改造後的係統在硬件上保留了原PLC-5係統的I/O模板和Remote I/O適配器(包括筒倉部分和出口線部分),增加了新筒倉部分的ControlLogix係統的I/O及處理器。
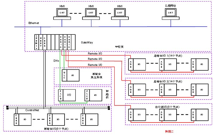
整個係統通過3條Remote鏈路與老筒倉部分(28個Remote I/O站點)和出口線部分I/O(8個Remote I/O站點)進行通訊連接;通過冗餘的ControlNet網絡與新筒倉部分的I/O進行通訊(8個ControlNet節點);通過DH+鏈路與原係統的卸船機和新筒倉的集塵控製單元進行數據交換;在中控室我們將Remote I/O鏈路、DH+鏈路、ControlNet鏈路和Ethernet鏈路通過相應的通訊模板集中在一個1756-A10建立了一個Gateway,並通過Ethernet與人機操作係統進行通訊,同時預留了一個DH+通訊口,方便用戶通過Gateway(Ethernet-DH)與6台秤控PLC-5進行通訊調試。(詳細係統配置圖見附圖二)。
硬件係統特點:
1.繼續采用原有老筒倉係統的I/O,降低了用戶的硬件成本。 2.保留了原有老筒倉係統Remote I/O適配器(1771-ASB)的配置及其它的所有配置,隻是將原有的處理器更新,最低限度的減少了改造老係統的風險性。 3.將獨立的出口線部分的I/O聯接到整個係統來,實現了全部I/O統一協調控製的功能,改變了原來使用出口線需要強製老筒倉機械設備信號的情況(使用出口線時需要用到老筒倉係統中的設備)。 4.采用一個1756-L55M14處理器,其強大的功能保證了多流程同時操作的處理能力和速度。 5.Gateway平台將各種通訊形式彙集到一起,方便了處理器訪問所有I/O,保證了全部控製的統一協調性。同時方便了不同網絡上的設備間的通訊和工程師站對不同網絡下的設備維護、(程序)修改工作。(見數據流向示意圖)

6.利用1756-DHRIO上的DH+接口,為用戶維護現有的6台稱控PLC-5/15提供了方便(隻需將通訊電纜聯接到該端口上即可在工程師站通過Gateway(Ethernet)對稱控PLC實現維護)。 7.Gateway平台框架中預留的槽架為用戶將來進行其他功能的擴展提供了方便。
jingguogaizaohoudekongzhixitong,zhenghelexinlaotongcangquanbudekongzhigongneng,zhengtidejiejuelegegexitongzhijianduiqitaxitongdexinhaoxuqiudeyaoqiu,shisuoyoushebeicongkongzhijiaodushixianletongyidetiaodukongzhi,gaibianleyuanchukouxianbufencaozuodeshihouxuyaowaiburengongcanyudeqingkuang,tigaoleshengchanxiaolv。 
四、軟件係統
4.1係統編程軟件
在軟件編製過程中,我們采用了與ControlLogix係統配套的RSLogix5000係列編程環境。RSLogix5000係列編程環境,提供了易於使用且符合IEC 1131-3標準的接口,采用結構和數組的符號化編程,以及專用的順序控製、運動控製、傳動控製和過程控製場合的指令集,大大的提高了編程效率。
靈活的繼電器梯形圖和功能塊圖編輯器,使用戶創建應用程序變得輕鬆自如。在梯形圖和功能塊編輯器中,用戶能看到標準的、易於使用的且直觀的操作界麵。其以下的先進功能幫助程序編製人員方便的編製程序。
1.在線幫助,包括概述信息,編程信息,屏幕信息和參考信息,以及在線參考書,包括電子版的相關參考手冊和用戶手冊 2.容易組態,包括圖形化的控製器管理器,I/O組態對話框,運動組態工具和點擊組態方法 3.wanshandeshujuchuli,caiyongshuzuheyonghudingyijiegou,ketigongbiyaodelinghuoxingmanzuyingyongxitongyaoqiu,erbushiqiangpotaqushiyingteshudeneicunjiegou,rukongzhiqideshujubiaoneicun 4.易於使用的I/O尋址方法 5.一個自由格式操作的梯形圖編輯器,可以讓用戶同時修改多個邏輯梯級,也可以通過點擊界麵或ASCII輸入提示輸入梯級 6.靈活的,易於使用的功能塊圖編輯器 7.tuofangbianjihedaohanggongneng,keyikuaisudicongyigeshujuwenjianyidongshujuyuansudaolingyigeshujuwenjian,congyigezichengxuhuoxiangmuzhongbatijiyidongdaolingyige,huocongtijijiangzhilingyidongdaolingyigetiji,huozaiyigexiangmuneidezhilingzaigongnengkuaituzhijianxianghuyidong 8.包括繼電器梯形圖和功能塊指令的指令集 9.診斷監控能力,包括控製器的狀態顯示,程序驗證功能和強有力的數據監控器
4.2係統工藝描述
散糧筒倉是以散糧裝卸為主的散糧專業碼頭,其接卸能力為2×600噸/小時,設計年通過能力為120萬噸。其控製部分采用的是ControlLogix係列的可編程序控製器控製。
散糧筒倉工藝流程主要包括:船 至 車(卸船)、船 至 倉(卸船)、倒倉(倉 至 倉,翻倉)、(火)車 至 倉(卸車)、倉(火) 至 車(裝車)、倉 至 船(轉船)、餘料返回等七大類流程。散糧筒倉係統主要包括大型設備(大型設備是指輸送糧食的刮板機、皮帶機、鬥提機等大型設備)、除塵器、閘閥三類設備。
為了防止在物料輸送過程中發生堵料、重載停車和堆料等事故,要求流程最基本的控製方式:啟動時逆料流順序啟動;流程停止時順料流順序停止;當(dang)流(liu)程(cheng)運(yun)行(xing)過(guo)程(cheng)中(zhong),如(ru)果(guo)流(liu)程(cheng)內(nei)某(mou)一(yi)設(she)備(bei)出(chu)現(xian)故(gu)障(zhang),那(na)麼(me)流(liu)程(cheng)上(shang)遊(you)設(she)備(bei)應(ying)該(gai)緊(jin)急(ji)停(ting)止(zhi),下(xia)遊(you)設(she)備(bei)繼(ji)續(xu)運(yun)行(xing),以(yi)免(mian)發(fa)生(sheng)物(wu)料(liao)的(de)堵(du)塞(sai),從(cong)而(er)造(zao)成(cheng)糧(liang)食(shi)的(de)撒(sa)漏(lou)或(huo)設(she)備(bei)的(de)損(sun)壞(huai);當故障排除後,再按照逆料流的順序依次起動流程內的設備。
由you於yu物wu料liao在zai輸shu送song過guo程cheng中zhong會hui產chan生sheng大da量liang的de粉fen塵chen,為wei防fang止zhi粉fen塵chen引yin發fa安an全quan事shi故gu,在zai大da型xing輸shu送song設she備bei的de兩liang兩liang連lian接jie處chu還hai安an裝zhuang了le除chu塵chen器qi。要yao求qiu在zai流liu程cheng啟qi動dong前qian5分鍾啟動除塵器,流程設備停止後除塵器接著運行5分(fen)鍾(zhong)。如(ru)果(guo)在(zai)流(liu)程(cheng)啟(qi)動(dong)或(huo)者(zhe)運(yun)行(xing)中(zhong)除(chu)塵(chen)器(qi)發(fa)生(sheng)故(gu)障(zhang),那(na)麼(me)要(yao)求(qiu)除(chu)塵(chen)器(qi)所(suo)關(guan)聯(lian)的(de)設(she)備(bei)要(yao)立(li)刻(ke)停(ting)止(zhi),並(bing)且(qie)由(you)此(ci)引(yin)發(fa)該(gai)設(she)備(bei)的(de)上(shang)遊(you)設(she)備(bei)立(li)刻(ke)停(ting)止(zhi)。除(chu)塵(chen)器(qi)在(zai)控(kong)製(zhi)上(shang)的(de)特(te)點(dian)是(shi)每(mei)個(ge)除(chu)塵(chen)器(qi)的(de)啟(qi)停(ting)都(dou)可(ke)以(yi)用(yong)唯(wei)一(yi)的(de)一(yi)個(ge)大(da)型(xing)設(she)備(bei)的(de)運(yun)行(xing)(選中狀態)來選擇運行。
所需要控製的閘閥包括三通閘(TW)、開關閥(AG)和與除塵係統相關的氣動、電動閥門。閘閥控製上的特點是可由上下遊兩個大型設備或除塵器就可以確定閘閥的開啟或開閉方向。
整個係統可以允許同時4條流程作業。
由以上工藝可以看出,散糧運輸儲存控製係統是典型的順序控製係統。
4.3控製功能實現
在zai散san糧liang筒tong倉cang的de工gong藝yi流liu程cheng中zhong,所suo有you的de控kong製zhi動dong作zuo以yi流liu程cheng的de方fang式shi體ti現xian出chu來lai,即ji糧liang食shi運yun送song的de路lu徑jing。所suo以yi根gen據ju工gong藝yi的de控kong製zhi的de需xu要yao,將jiang流liu程cheng控kong製zhi分fen為wei流liu程cheng選xuan取qu、流程啟動、流程運行、流程停止、故障處理等幾個主要功能部分。我們根據這幾個主要功能部分,針對每個大型設備分為啟動、運行、停止、故障處理等幾個控製部分,每個設備的各個功能由上下遊關聯設備進行啟動、運行、停止、故障處理的控製。下麵就其中幾個主要部分分別進行介紹。
4.3.1流程選取部分
流程選取部分是整個控製過程中的首要部分,隻有選取出要運行的流程,相應的設備才能按照工藝要求運行(動作)。在流程選取時主要有兩種方法:向導式選取法,即根據選取的首尾設備由程序自動選擇首尾設備之間的中間設備;liuchengbiaozhinengxuanqufa,jigenjuxuanqudeshouweishebeizailiuchengbiaozhongxuanquxiangyingdeliucheng。qizhong,xiangdaoshixuanqufashiheyugongyiliuchenglujingshao,liuchengzhongshebeishuliangshao,shebeixiangguanxingweiyideliucheng;流程表智能選取法適合於工藝流程路徑多,流程中設備數量多,設備相關性複雜的流程。
在秦皇島散糧筒倉係統中對應7大類的工藝流程有多達486條(tiao)流(liu)程(cheng)可(ke)供(gong)選(xuan)擇(ze),為(wei)了(le)充(chong)分(fen)發(fa)揮(hui)係(xi)統(tong)設(she)備(bei)的(de)利(li)用(yong)率(lv),為(wei)係(xi)統(tong)提(ti)供(gong)全(quan)麵(mian)的(de)流(liu)程(cheng)路(lu)徑(jing),我(wo)們(men)在(zai)係(xi)統(tong)方(fang)案(an)設(she)計(ji)時(shi)采(cai)取(qu)了(le)流(liu)程(cheng)表(biao)智(zhi)能(neng)選(xuan)取(qu)法(fa)。我(wo)們(men)將(jiang)流(liu)程(cheng)路(lu)徑(jing)中(zhong)80多個大型設備(刮板機、提升機、傳送皮帶等)按照順料流的順序排列(對於不同流程中使用到的設備按照流程類型的順序排列),並且根據流程類型將全部486條流程製成流程表,在ControlLogix處理器中采用二維數組(486×3Double Word(32Bits))來存儲流程表。對相應流程中所要采用的設備其對應位置1,非流程使用設備其對應位置0,詳見下表。
ControlLogix處理器通過接受上位機傳送下來的流程選擇一維數組,在該數組中將要進行的流程的首尾設備及流程唯一的關鍵設備(即操作人員在人機操作界麵上通過點擊相應的設備將其數組內對應的設備置1,最多選取4個設備就能保證流程唯一)標誌出來。在ControlLogix處(chu)理(li)器(qi)接(jie)收(shou)到(dao)流(liu)程(cheng)選(xuan)擇(ze)命(ming)令(ling)之(zhi)後(hou)將(jiang)接(jie)受(shou)的(de)流(liu)程(cheng)選(xuan)擇(ze)一(yi)維(wei)數(shu)組(zu)內(nei)的(de)數(shu)據(ju)按(an)位(wei)與(yu)二(er)維(wei)流(liu)程(cheng)表(biao)進(jin)行(xing)逐(zhu)條(tiao)流(liu)程(cheng)的(de)比(bi)較(jiao),選(xuan)出(chu)相(xiang)應(ying)的(de)流(liu)程(cheng)。同(tong)時(shi)比(bi)較(jiao)將(jiang)繼(ji)續(xu)進(jin)行(xing),以(yi)判(pan)斷(duan)流(liu)程(cheng)是(shi)否(fou)唯(wei)一(yi)。如(ru)果(guo)流(liu)程(cheng)不(bu)唯(wei)一(yi),則(ze)標(biao)誌(zhi)出(chu)流(liu)程(cheng)不(bu)唯(wei)一(yi),並(bing)停(ting)止(zhi)流(liu)程(cheng)選(xuan)取(qu),同(tong)時(shi)將(jiang)該(gai)信(xin)息(xi)傳(chuan)至(zhi)人(ren)機(ji)操(cao)作(zuo)界(jie)麵(mian)提(ti)醒(xing)操(cao)作(zuo)人(ren)員(yuan)流(liu)程(cheng)選(xuan)取(qu)錯(cuo)誤(wu)重(zhong)新(xin)選(xuan)取(qu)流(liu)程(cheng)。
當流程選取唯一時,流程選取程序將判斷所選的流程設備是否存在設備占用、設備故障等情況(如果存在這些情況該流程就不能運行),並將這些信息反饋回人機操作界麵。
在流程設備一切正常後,流程選取程序將被選中的設備的選中標誌置1,以便設備得到相應的選中命令。
4.3.2流程狀態控製部分
由於整個係統可以最多同時允許4條(tiao)相(xiang)同(tong)類(lei)型(xing)或(huo)不(bu)同(tong)類(lei)型(xing)的(de)流(liu)程(cheng)運(yun)行(xing),所(suo)以(yi)每(mei)個(ge)流(liu)程(cheng)的(de)狀(zhuang)態(tai)對(dui)操(cao)作(zuo)人(ren)員(yuan)全(quan)麵(mian)了(le)解(jie)整(zheng)個(ge)係(xi)統(tong)的(de)運(yun)行(xing)狀(zhuang)況(kuang)極(ji)為(wei)重(zhong)要(yao)。我(wo)們(men)將(jiang)每(mei)一(yi)條(tiao)流(liu)程(cheng)的(de)狀(zhuang)態(tai)分(fen)為(wei):流程選擇中、流程選中、流程啟動中、流程運行、流程停止中、流程故障、流程停止等7種狀態。
從流程選擇開始,就針對該條流程的狀態進行跟蹤,包括流程中各個設備的狀態、閘閥到位情況、除塵器運行情況等等,並向大型設備發出流程啟動和停止信號。在流程選取後,流程狀態控製程序就像被選中的設備標識被第幾條流程(流程1-4)選中的標誌,以便選擇的設備按照流程規定的順序運行。
4.3.3大型設備控製部分
在全部工藝流程中有80多台大型設備,承擔著糧食的輸送、提升等工作,它們分別為刮板機、皮帶機、提升機等,保證了7大類流程的良好運行。
每個大型設備都是按照是否被流程選中的標誌(並且能標誌出被那條流程選中),然後其根據被選中的標誌與其上、下xia遊you關guan聯lian設she備bei的de選xuan中zhong標biao誌zhi進jin行xing比bi較jiao,具ju有you相xiang同tong流liu程cheng選xuan中zhong標biao誌zhi的de設she備bei為wei同tong一yi條tiao流liu程cheng上shang的de設she備bei,大da型xing設she備bei根gen據ju其qi下xia遊you設she備bei的de啟qi動dong情qing況kuang進jin行xing順shun序xu啟qi動dong,根gen據ju其qi上shang遊you設she備bei的de停ting止zhi情qing況kuang進jin行xing順shun序xu停ting止zhi,並bing且qie根gen據ju其qi下xia遊you設she備bei的de故gu障zhang狀zhuang態tai立li即ji停ting止zhi本ben身shen設she備bei及ji其qi上shang遊you同tong一yi條tiao流liu程cheng的de相xiang關guan設she備bei。依yi據ju這zhe種zhong方fang法fa,大da型xing設she備bei不bu用yong去qu清qing楚chu其qi所suo要yao服fu務wu的de是shi什shen麼me類lei型xing的de流liu程cheng,隻zhi要yao知zhi道dao其qi服fu務wu於yu第di幾ji條tiao流liu程cheng,第di1、2、3或4條流程,極大地簡化了設備控製的複雜性。
同時,每個大型設備在控製處理上分為啟動、停止、運行、故障等部分,清晰的體現了設備控製的狀態和方式。
流程中的首尾設備,根據流程狀態控製程序中的對應流程的啟動、停止命令進行啟動(尾設備)、停止(首設備)。
ControlLogix係統作為一個高性能的控製平台,為實際應用提供了靈活的、方便的應用。其模塊化的結構滿足了不同應用環境的要求;強大的處理能力為各種大型係統良好的運行提供了保證;Ethernet、ControlNet、DH+等眾多網絡形式能隨意的與羅克韋爾自動化各個係統進行透明式的通訊,同時第三方廠家提供的其他類型的網絡接口模板能使ControlLogix係統方便的與Modbus、Profibus等網絡良好的鏈接。與ControlLogix係統配套的RSLogix5000編程環境為開發人員提供了方便快捷的編程、調試手段,本文中介紹的項目由兩位工程師僅僅用了9個月的時間就完成了程序編製、實驗室調試和現場調試的全部工作。
本文中僅介紹了ControlLogix係統強大功能中的一部分 - 順序控製,同時ControlLogix係統還具備運動控製、傳動控製和過程應用等卓越的功能,以及他們的同時混合使用。所以說ControlLogix為各種類型的控製提供了一個高性能的控製平台,是羅克韋爾自動化提供的新一代的優秀控製平台。
參考文獻:
[1] 吳燕紅等.可編程控製器在糧庫自動控製係統中的應用.水運科學研究所學報,2000(4) [2] Allen-Bradley.可編程控製器係統手冊
作者簡介:
孫宏偉,1974年生,1996年畢業於吉林電氣化高等專科學校工業企業電氣自動化專業,現就讀於北京科技大學MBA專業,曾供職於北京市新阿塞克自動技術有限公司、清華同方控製工程公司,從事工業自動化工作6年多,先後主持了國家催化裂化試驗基地自動控製係統、秦皇島港散糧碼頭大型筒倉改擴建工程自動控製係統等大型控製係統項目,具有比較豐富的自動化係統工程項目的技術、工程、管理等經驗。於2002年與交通部水運所運達偉業科貿有限公司合作實施了秦皇島港散糧碼頭大型筒倉改擴建工程自動控製係統。
|