|
一、基本要求
用文本顯示器一個數據寄存器,設定數值範圍0-100控製EP-08M08R-04K04E的0-10V輸出。 
二、程序說明 1、主程序調用P123子函數讀EP-08M08R-04K04E中FLASH,由此得到程序中0-10V 信號零點量程所對應DA值之間的線性關係。D100為字符屏數據寄存器,設定範圍(上 下限)0-100。

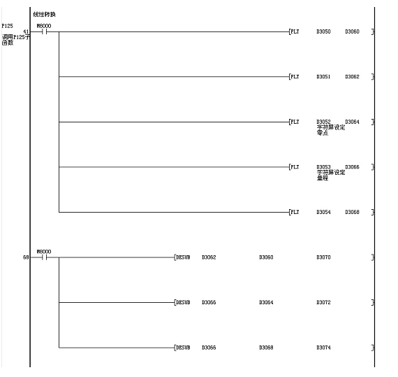
2、調用P125子程序,占用資源D3050-----D3081,將物理量線性變換出電壓信號。
 在文本顯示器中D100對應PLC一個DA通道的模擬量輸出,數據寄存器D5653對應0-10V零點DA值,D5655對應0-10V量程DA值 在程序中,運用到的DA零點量程在《科威編程手冊》P111頁中有詳細說明。 D100對應0通道輸出:D100 為0時,0通道輸出電壓為0V; D100為100時,0通道輸出電壓為10V。 D100從0到100對應輸出電壓為0到10V,他們之間是線性關係。
在程序中主要是調用了一個P125函數,P125是一個線性轉換函數,在《科威編程手冊》P128頁中有詳細的說明,您可以查看。
|