|
一、用途
L(G/F)B型標準環室孔板、法蘭孔板節流裝置是無刻度的流量測量裝置,它與氣動、電動差壓變送器或雙波紋管差壓變送器配套使用。在冶金、化工、石油、電力工業係統連續測量介質溫度≤400℃的液體、氣體、蒸(zheng)汽(qi)流(liu)經(jing)孔(kong)板(ban)所(suo)產(chan)生(sheng)的(de)壓(ya)差(cha),由(you)變(bian)送(song)器(qi)將(jiang)該(gai)壓(ya)差(cha)訊(xun)號(hao)轉(zhuan)換(huan)成(cheng)比(bi)例(li)的(de)輸(shu)出(chu)信(xin)號(hao),再(zai)由(you)二(er)次(ci)儀(yi)表(biao)或(huo)調(tiao)節(jie)器(qi),對(dui)被(bei)測(ce)量(liang)流(liu)量(liang)進(jin)行(xing)記(ji)錄(lu),指(zhi)示(shi)或(huo)調(tiao)節(jie)。
節流裝置係列型譜說明:

※注:公稱通徑根據工藝條件要求,通徑從Φ50~Φ400MM。
例:LGBA―16―80表示:標淨環室孔板節流裝置,水平安裝,工作壓力6kgf/cm2
公稱通徑為Dg80
二、作用原理和結構
1、基本原理
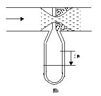
在zai管guan道dao內nei部bu裝zhuang上shang孔kong板ban或huo噴pen咀ju等deng節jie流liu件jian,由you於yu節jie流liu件jian的de孔kong徑jing小xiao於yu管guan道dao內nei徑jing,當dang流liu體ti流liu經jing節jie流liu件jian時shi,流liu速su截jie麵mian突tu然ran收shou縮suo,流liu速su加jia快kuai。節jie流liu件jian後hou端duan流liu體ti的de靜jing壓ya力li降jiang低di,於yu是shi在zai節jie流liu件jian前qian後hou產chan生sheng靜jing壓ya力li差cha(見圖1),該靜壓力差與流過的流體流量之間有確定的數值關係,符合Q=K. △P 。用差壓變送器(或差壓計)測量節流件前後的差壓,實現對流量的測量。
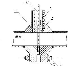
2、節流裝置的結構如圖2、3所示:
圖2、標準環室孔板節流裝置結構示
圖(Pg≤25)
1、法蘭 2、導管
3、前環室 4、節流件
5、墊 6、後環室 7、墊
8、螺母 9、螺栓
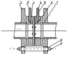
圖3、標準法蘭孔板節
流裝置示意圖((Pg≥64)
1、取壓法蘭2、孔板
3、導壓管4、密封墊5、螺母
6、螺栓
三、安裝要求
節流裝置的安裝和使用與下列管段和管件有關:節流件上遊側第一阻力件、第二阻力件,節流件下遊側第一阻力件,從節流件上遊第二阻力件到下遊第一阻力件之間的管段以及差壓訊號管路等。

1、 管道條件
(1) 節流件前後的直管段必須是直的,不得有肉眼可見的彎曲。
(2) 安裝節流件用的直管段應該是光滑的,如不光滑,流量係數應乘以粗糙度修正係數。
(3) 為保證流體的流動在節流件前1D處形成充分發展的紊流速度分布,而且使這種分布成均勻軸對稱形,所以:
1) 直管段必須是圓的,而且對節流件前2D範圍,其圓度要求甚為嚴格,並且有一定的圓度指標。具體衡量方法:
(a)節流件前0D、D/2 D、2D4個垂直管截麵上,以大致相等的角距離至少分別測量4個管道內徑單測值,取平均值D,任意內徑單測值與平均值之差不得超過±0.3%
(b)在節流件後,在0D和2D位置用上述方法測得8個內徑單測值,任意單測值與D比較,其最大偏差不得超過±2%。
2)節流件前後要求一段足夠長的直管段。這段足夠長的直管段和節流件前的局部阻力件形式有關和直徑比β有關。見表1(β=d/D;d為孔板開孔直徑,D為管道內徑)。
(4)節流件上遊側第一阻力件和第二阻力件之間的直管段長度可按第二阻力件的形式和β=0.7(不論實際β值是多少),取表一所列數值的1/2。
(5)節流件上遊側為敞開空間或直徑≥2D大容器時,則敞開空間或大容器與節流件之間的直管長不得小於30D(15D)。若節流件和敞開空間或大容器之間尚有其它局部阻力件時,則除在節流件與局部阻力件之間設有附合表1上規定的最小直管段長L1外,從敞開空間到節流件之間的直管段總長也不得小於30D(15D)。
|
1
|
2 |
3 |
4 |
5 |
6 |
7 |
8 |
9 |
|
|
10(6) |
14(7) |
34(17) |
5 |
16(8) |
12(6) |
18(9) |
4(2) |
|
0.25 |
10(6) |
14(7) |
34(17) |
5 |
16(8) |
12(6) |
18(9) |
4(2) |
|
0.30 |
10(6) |
16(8) |
34(17) |
5 |
16(8) |
12(6) |
18(9) |
5(2.5) |
|
0.35 |
12(6) |
16(8) |
36(18) |
5 |
16(8) |
12(6) |
18(9) |
5(2.5) |
|
0.40 |
14(7) |
18(9) |
36(18) |
5 |
16(8) |
12(6) |
20(10) |
6(3) |
|
0.45 |
14(7) |
18(9) |
38(19) |
5 |
17(9) |
12(6) |
20(10) |
6(3) |
|
0.50 |
14(7) |
20(10) |
40(20) |
6(5) |
18(9) |
12(6) |
22(11) |
6(3) |
|
0.55 |
16(8) |
22(11) |
44(22) |
8(5) |
20(10) |
14(7) |
24(12) |
6(3) |
|
0.60 |
18(9) |
26(13) |
48(24) |
9(5) |
22(11) |
14(7) |
26(13) |
7(3.5) |
|
0.65 |
22(11) |
32(16) |
54(27) |
11(6) |
25(13) |
16(8) |
28(14) |
7(3.5) |
|
0.70 |
28(14) |
36(18) |
62(31) |
14(7) |
30(15) |
20(10) |
32(16) |
7(3.5) |
|
0.75 |
36(18) |
42(21) |
70(35) |
22(11) |
38(19) |
24(12) |
36(18) |
8(4) |
|
0.80 |
46(23) |
50(25) |
80(400) |
30(15) |
54(27) |
30(15) |
44(22) |
8(4) |
注:1、上表隻對標準節流裝置而言,對特殊節流裝置可供參考。
2、 上表所列數係為管內徑D的倍數。
3、 上表括號外的數字為“附加相對極限誤差為零”的數值,括號內的數字為“附加相對極限誤差為±0.5%的數值。即直管段長度中有一個采用括號內的數值時,流量測量的極限相對誤差 。應再算術相加0.5%亦即( )%
4、 若實際直管段長度大於括號內數值,而小於括號外的數值時,需按“附加極限相對誤差為0.5%”處理。
(1) 直流件安裝在管道中,其前瑞麵必須與管道軸線垂直,充許的最大不垂直度不得超過去時±1°。
(2) 節流件安裝在管道中後,其開孔必須與管道同心,其充許的最大不同心度ε不得超過下列公式計算結果:ε≤0.015D( )。
(3) 所有墊片不能使用太厚的材料,最好不超過0.5mm,墊片不能突出管壁內否則可能引起很大測量誤差。
(4) 凡是調節流量用的閥門,應裝在節流件後最小直管長度以外。
(5) 節流裝置在工藝管道上的安裝,必須在管道清洗吹掃後進行。
(6) 在水平或傾斜管道安裝的節流裝置的取壓方式。
1) 被測流體為液體時,為防止氣泡進入導壓管,取壓口應處工藝管道中心線下偏≤45°的位置上,正負取壓口處於與管道對稱位置時,兩者應在同一水平麵上(見圖5)
2) 被測流體為氣體時,為防止液體(冷凝液)進入導壓管,取壓口應處工藝管道中心管道上方線上偏≤45°的位置上,正負取壓口處於與管道對稱位置時,兩者應在同一水平線上。(見圖6)
3) beiceliutiweizhengqishi,yingbaozhenglengningqizhonglengningyemianhengdinghezhengfudaoyaguanshangdelengningmiangaoduyizhi。zhengfuyakouchuyuyuguandaoduichengweizhishi,liangzheyingzaitongyishuipingmianshang。(見圖7)
上述三種取壓口安裝方式,均可與管道對稱和管道的同一側進行安裝。
(7) 安裝節流裝置的管道處於垂直時,冷凝器應處於同一水平位置上,這樣可以消除因取壓孔位置高度不同而引起的測量誤差。
(8) 導壓管應按被測流體的性質和參數使用耐壓、耐腐蝕的材質製造,其內徑不得小於6mm,長度最好在16m之內,視被測流體性質而安,不同長度下的最小內徑見表2
(9) 安裝差壓信號 按1:10傾斜度敷設。
|